IT之家 2 月 11 日音尘,科技媒体 Wccftech 昨日(2 月 10 日)报谈,苹果公司正在探索全新的交互形态:用户无需发出声息,仅凭唇部和面部肌肉通顺即可发送短信或叫醒 Siri。
IT之家曾于 1 月 30 日报谈,苹果完成 Beats 之后最大收购案,斥资近 20 亿好意思元(IT之家注:现汇率约合 138.37 亿元东谈主民币)拿下 Q.ai。
公开长途自满,Q.ai 中枢竞争力在于独到的机器学习算法,基于获批专利,不错分析“面部皮肤的轻微通顺”来检测无声或轻声发出的词语,该技能还可用于识别个东谈主身份,并评估情谊、心率、呼吸频率等多项生理接头。
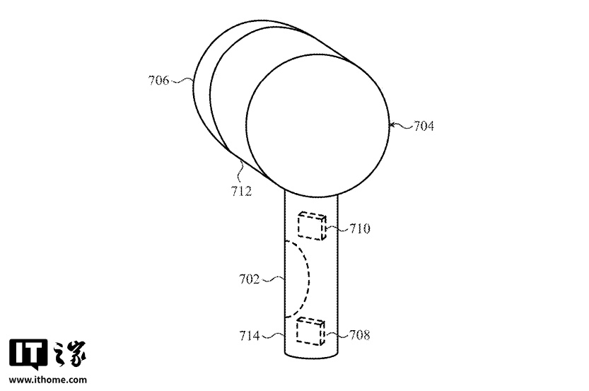
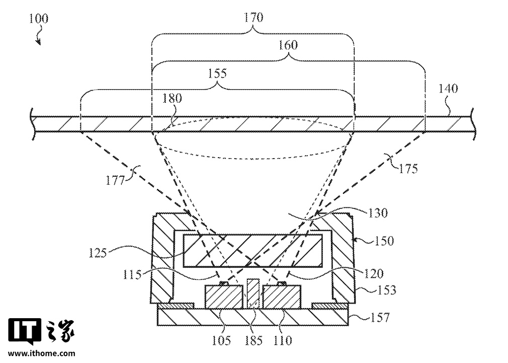
分析师郭明錤此前显现,苹果蓄意在 2026 年推出的录像头版 AirPods Pro 3,这类传感器近似于 Face ID 所使用的点阵投影仪,概况进行近距离的 3D 深度测绘。
苹果于 2025 年 7 月赢得了一项专利,诓骗录像头(近似于 Face ID 的点投影)应用于接近检测和 3D 深度映射应用场景。固然专利中莫得平直指明 AirPods,但这项技能契合概况近距离跟踪面部通顺的小型红外录像头理念。
该媒体指出苹果公司可能会纠合 Q.ai 的软件算法与 AirPods Pro 的红外硬件,打造一套能精确捕捉并翻译面部微动的感知系统。
这一技能组合若告捷落地,将透顶更正东谈主机交互的逻辑。分析东谈主士指出,用户改日在拥堵的地铁或餍足的办公室中,无需再高声喊出“Hey Siri”,也无谓掏动手机打字,仅需通过轻微的面部作为即可完成发送 iMessage 信息或切换歌曲等操作。
这种“静默铁心”让东谈主机交互变得愈加当然且荫藏,一方面保护了用户心事,另一方面也有用不休了在大家时势使用语音助手的酬酢欺侮感(Social Stigma)。
这项技能的应用远景远不啻于耳机。Q.ai 首创东谈主 Aviad Maizels 曾参与创立 PrimeSense(Face ID 技能起源),改日“无声语音”交互极有可能膨胀至 Vision Pro 头显及传奇中的苹果智能眼镜。
开云提款靠谱官网入口
